
22多功能風動打孔器.doc
多功能風動打孔器
技術領域
本實用新型涉及煤礦井下打孔眼作業的風動打孔器。
背景技術
井下施工過程中需打孔作業,如道軌釘道、風門設施安裝。在井下通風設施安裝工作中,因巷道變形等原因在井上制作好的配件和井下主件因孔眼不合適不能安裝,只有采取兩個措施:其一就是把量好尺寸打運上井重新打孔眼,再次下井安裝;其二,就是動火作業打孔,井下動火作業隱患多、風險大;需使用人員多,投入工多,造成窩工現象;施工前需打運動火設備設施,運輸過程中風險高。
發明內容
本實用新型要解決的技術問題是提供一種作業方便、安全、快捷的可在井下有限空間內工作的多功能風動打孔器。
為解決以上技術問題,本實用新型采用以下技術方案。
一種多功能風動打孔器,包括風動鉆機,風動鉆機鉆頭孔處連接連桿,連桿前端設有鉆帽,鉆帽前端連接鉆頭。
本實用新型所述的多功能風動打孔器,適用于在井下空間受限時的打孔作業,拆卸方便,操作簡單、安全、快捷。解決了以往作業過程中急需打孔,采取動火作業、打運設備上井打孔的工作方式,避免了安全隱患多、浪費人力、物力、時間等缺點。
附圖說明
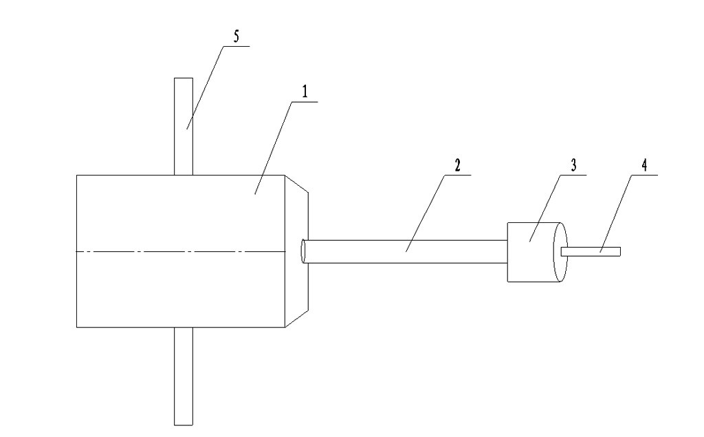
圖1為本實用新型的結構示意圖。
圖中,1-風動鉆機,2-連桿,3-鉆帽,4-鉆頭,5-把手。
具體實施方式
為了使本領域技術人員更好的理解本實用新型,以下結合附圖對本實用新型作進一步清楚、完整的說明。
本實用新型所述的一種多功能風動打孔器,包括風動鉆機1,風動鉆機1鉆頭孔處連接連桿2,連桿2前端設有鉆帽3,鉆帽3前端連接鉆頭4。
在原有軌道打孔機的基礎上用一根長250pxΦ25鋼筋一段做為連桿2,在連桿2前端安裝一個鉆帽3,鉆帽3前端面上開有鉆頭孔,選擇合適的鉆頭4裝入鉆頭孔內,便可在不同的介質,如木頭、鐵器上打孔、鉆眼,使用方便,安全性能可靠。風動鉆機1機體上設有把手5供操作人員握持。
本實用新型要求保護的范圍不限于以上具體實施方式,對于本領域技術人員而言,本實用新型可以有多種變形和更改,凡在本實用新型的構思與原則之內所作的任何修改、改進和等同替換都應包含在本實用新型的保護范圍之內。
權利要求書
1.一種多功能風動打孔器,包括風動鉆機(1),其特征在于:風動鉆機(1)鉆頭孔處連接連桿(2),連桿2前端設有鉆帽(3),鉆帽(3)前端連接鉆頭(4)。
說明書摘要
本實用新型公開了一種多功能風動打孔器,包括風動鉆機,風動鉆機鉆頭孔處連接連桿,連桿前端設有鉆帽,鉆帽前端連接鉆頭。適用于在井下空間受限時的打孔作業,拆卸方便,操作簡單、安全、快捷。
說明書附圖

圖1