
21一種皮帶清煤器.doc
一種皮帶清煤器
技術領域
本實用新型涉及皮帶輸送機,特別是防止皮帶下帶回煤的皮帶清掃裝置。
背景技術
隨著工礦企業的快速發展,皮帶運輸機因有著高效的運輸能力而在煤礦井下廣為應用,但由于采掘巷道受地質條件影響,巷道高低不平,頂板淋水等因素,造成了皮帶底帶大量的帶回煤,出現大量的托輥損壞;給日常的維護保養帶來了極大的不便與困難,給人身安全造成了巨大的隱患。
發明內容
本實用新型要解決的技術問題是克服皮帶運輸機因皮帶底帶回煤造成托輥易損壞的缺陷,提供一種皮帶清煤器。
為解決以上技術問題,本實用新型提供的技術方案是:
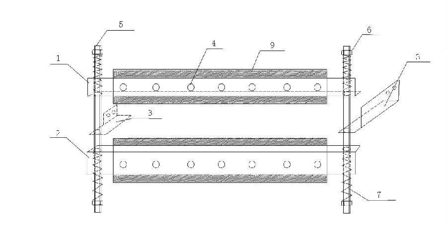
一種皮帶清煤器,包括上清煤器框架、下清煤器框架和固定架,所述的上清煤器框架與下清煤器框架結構相同,各自包括一塊兩邊垂直的長條形板,兩邊分別是豎邊和橫邊,豎邊中部開有若干個清掃皮帶固定孔,橫邊兩端開有框架固定孔;上清煤器框架和下清煤器框架通過穿過框架固定孔的兩端設有螺紋的連接螺栓連接,連接螺栓兩端螺紋部連接螺母,螺母與上清煤器框架和下清煤器框架的橫邊內側壁之間裝有彈簧;固定架上開有連接孔,通過連接孔裝入連接螺栓中部。
工作時,將清掃皮帶用螺栓固定在上清煤器框架和下清煤器框架的清掃皮帶固定孔,固定架固定在皮帶輸送機H架上,連接螺栓可在固定架的連接孔內上下移動,彈簧能夠使清掃皮帶與輸送帶相夾,始終處于清煤狀態。
本實用新型還包括與固定架配合的固定板,固定架和固定板上各開有對應的螺孔。固定架和固定板將皮帶輸送機H架夾在中間,在固定架和固定板對應的螺孔內裝入螺栓回以固定。
本實用新型通過彈簧以及可以上下移動的兩個清煤器框架,使清掃皮帶始終處于清煤狀態,防止皮帶下帶帶回煤,有效地解決了因此造成的皮帶托輥損壞。
附圖說明
圖1為本實用新型的結構示意圖。
圖2為固定板。
圖中,1-上清煤器框架,2-下清煤器框架,3-固定架,4-清掃皮帶固定孔,5-連接螺栓,6-螺母,7-彈簧,8-固定板,9-清掃皮帶。
具體實施方式
為了使本領域技術人員更好的理解本實用新型,以下結合附圖對本實用新型作進一步清楚、完整的說明。
本實用新型所述的一種皮帶清煤器,包括上清煤器框架1、下清煤器框架2和固定架3,所述的上清煤器框架1與下清煤器框架2結構相同,各自包括一塊兩邊垂直的長條形板,兩邊分別是豎邊和橫邊,豎邊中部開有若干個清掃皮帶固定孔4,橫邊兩端開有框架固定孔;上清煤器框架1和下清煤器框架2通過穿過框架固定孔的兩端設有螺紋的連接螺栓5連接,連接螺栓5兩端螺紋部連接螺母6,螺母6與上清煤器框架1和下清煤器框架2的橫邊內側壁之間裝有彈簧7;固定架3上開有連接孔,通過連接孔裝入連接螺栓5中部。
制作上清煤器框架1,選用1500m長的∠50角鐵兩根,角鐵中部打五個φ12.5的孔,用M12×40螺栓10套,將清掃皮帶9固定在上清煤器杠框架1上,角鐵兩端打φ20的框架固定孔。下清煤器框架2的制作方法相同。
固定架3選用800mm和/或200mm長的∠50角鐵共兩根,在角鐵兩邊上分別打孔,其中一邊上的孔用于使角鐵穿入連接螺栓5中部,另一邊上的孔用于固定在H架上。
連接螺栓5選用φ20圓鋼兩頭套φ20的螺口制成M20×500螺栓。
作為優選的方案,本實用新型還包括與固定架1配合的固定板8,固定架1和固定板8上各開有對應的螺孔。固定板8選用100×150的δ10鋼板兩塊,鋼板上開有孔,與固定架3另一邊上的孔對應,H架夾在固定架3與固定板8中間,然后用M12×100螺栓固定。
本實用新型要求保護的范圍不限于以上具體實施方式,對于本領域技術人員而言,本實用新型可以有多種變形和更改,凡在本實用新型的構思與原則之內所作的任何修改、改進和等同替換都應包含在本實用新型的保護范圍之內。
權利要求書
一種皮帶清煤器,其特征在于:包括上清煤器框架(1)、下清煤器框架(2)和固定架(3),所述的上清煤器框架(1)與下清煤器框架(2)結構相同,各自包括一塊兩邊垂直的長條形板,兩邊分別是豎邊和橫邊,豎邊中部開有若干個清掃皮帶固定孔(4),橫邊兩端開有框架固定孔;上清煤器框架(1)和下清煤器框架(2)通過穿過框架固定孔的兩端設有螺紋的連接螺栓(5)連接,連接螺栓(5)兩端螺紋部連接螺母(6),螺母(6)與上清煤器框架(1)和下清煤器框架(2)的橫邊內側壁之間裝有彈簧(7);固定架(3)上開有連接孔,通過連接孔裝入連接螺栓(5)中部。
根據權利要求1所述的皮帶清煤器,其特征在于:還包括與固定架(1)配合的固定板(8),固定架(1)和固定板(8)上各開有對應的螺孔。
說明書摘要
本實用新型公開了一種皮帶清煤器,包括上清煤器框架、下清煤器框架和固定架,所述的上清煤器框架與下清煤器框架結構相同,豎邊中部開有若干個清掃皮帶固定孔,橫邊兩端開有框架固定孔;上清煤器框架和下清煤器框架通過穿過框架固定孔的兩端設有螺紋的連接螺栓連接,連接螺栓兩端螺紋部連接螺母,螺母與上清煤器框架和下清煤器框架的橫邊內側壁之間裝有彈簧;固定架上開有連接孔,通過連接孔裝入連接螺栓中部。本實用新型通過彈簧以及可以上下移動的兩個清煤器框架,使清掃皮帶始終處于清煤狀態,防止皮帶下帶帶回煤,有效地解決了因此造成的皮帶托輥損壞。
說明書附圖


圖1 圖2