
20風控絞車排繩裝置.doc
風控絞車排繩裝置
技術領域
本實用新型涉及煤礦井下運輸系統中的絞車,特別是絞車排繩裝置。
背景技術
煤礦井下運輸系統大致分為皮帶輸送機、刮板輸送機和絞車運輸三大類運輸設備,其中皮帶和刮板輸送機主要以運輸煤炭為主,而絞車運輸是以保證產煤為前提的其他物資后勤保障設備。在絞車運輸過程中,由于絞車與道軌都是固定的,絞車的鋼絲繩在放開、盤繞中就會出現“偏纏”現象,這樣的纏繞會使鋼絲繩纏繞長度減少,被擠壓住的鋼絲繩不能順暢展開而影響物資的正常運輸,為了保證鋼絲繩正常有序的盤繞,要多增設一名崗位工采取用木棒或其他機械機構來強制對鋼絲繩進行排列。絞車在拖運物件過程中鋼絲繩出現的無序壓繩、咬繩等現象,造成運輸環節效率低下,鋼絲繩的過快磨損,甚至導致人員在處理壓繩過程中出現的人身事故。
發明內容
本實用新型要解決的技術問題是提供一種可以高效、安全地排列鋼絲繩的風控絞車排繩裝置。
為解決以上技術問題,本實用新型采用以下技術方案。
本實用新型所述的一種風控絞車排繩裝置,包括固定在絞車底座兩端的兩臺風泵,兩臺風泵之后間連接有絲杠,絲杠上裝有排繩夾,在連接兩臺風泵的支管上各裝有一個電磁閥。
在啟動絞車電機之后,由絞車司機根據鋼絲繩排列的位置,手動送電給任意一個電磁閥,風泵在相應電磁閥的控制下進行運轉,旋轉絲杠帶動排繩夾勻速向前運行中整齊排列鋼絲繩,排繩夾運行至絞車滾筒一端時返回,如此反復勻速運行就可以把鋼絲繩排列整齊。
作為一種優選的方案,還包括分別固定在絞車滾筒兩側保護罩的限位器,排繩夾移動至絞車滾筒兩側時,排繩夾可觸碰到限位器。排繩夾運行到絞車一端觸碰到限位器后返回。
本實用新型提供的風控絞車排繩裝置利用絲杠和排繩夾把鋼絲繩進行自動整齊有序排列,杜絕了絞車在拖運物件過程中鋼絲繩出現的無序壓繩、咬繩等現象,避免了鋼絲繩的過快磨損,提高了運輸效率和生產的安全性。
附圖說明
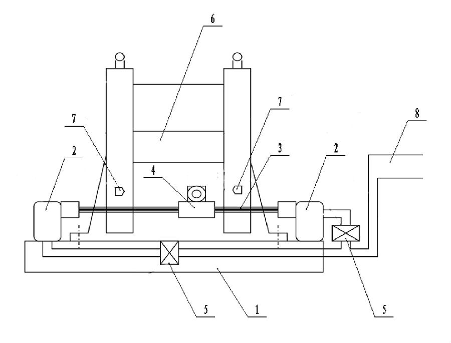
圖1為本實用新型風控絞車排繩裝置的正視示意圖。
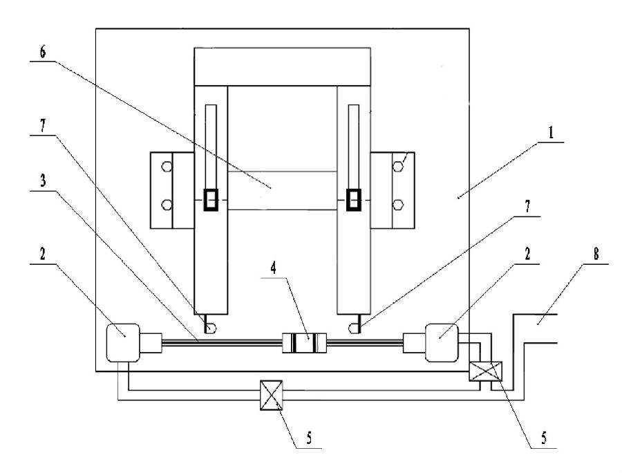
圖2為本實用新型風控絞車排繩裝置的俯視示意圖
圖中,1-絞車底座,2-風泵,3-絲杠,4-排繩夾,5-電磁閥,6-絞車滾筒,7-限位器,8-總風管。
具體實施方式
為了使本領域技術人員更好的理解本實用新型,以下結合附圖對本實用新型作進一步清楚、完整的說明。
如圖1、2所示,本實用新型所述的一種風控絞車排繩裝置,包括固定在絞車底座1兩端的兩臺風泵2,兩臺風泵2之后間連接有絲杠3,絲杠3上裝有排繩夾4,在連接兩臺風泵2的支管上各裝有一個電磁閥5。
風泵2采用單方向帶負荷旋轉小型慢速風泵,連接風泵2的支管連接至總風管8,兩個支管上電磁閥5各控制一個風泵2。絲杠3采用的是30mm直徑、齒寬5mm的矩形絲杠,排繩夾4內具有與絲杠3相配合的螺紋結構,在風泵運轉的帶動下,絲杠3轉動,從而帶動排繩夾4水平移動。排繩夾4頂部有放置鋼絲繩的卡槽,在排繩夾4移動過程中將鋼絲繩整齊、有序地進行排列。
在以上結構的基礎上,如圖1、2所示,本實用新型還包括分別固定在絞車滾筒6兩側保護罩的限位器7,排繩夾4移動至絞車滾筒6兩側時,排繩夾4可觸碰到限位器7。
本實用新型要求保護的范圍不限于以上具體實施方式,對于本領域技術人員而言,本實用新型可以有多種變形和更改,凡在本實用新型的構思與原則之內所作的任何修改、改進和等同替換都應包含在本實用新型的保護范圍之內。
權利要求書
一種風控絞車排繩裝置,其特征在于:包括固定在絞車底座(1)兩端的兩臺風泵(2),兩臺風泵(2)之后間連接有絲杠(3),絲杠(3)上裝有排繩夾(4),在連接兩臺風泵(2)的支管上各裝有一個電磁閥(5)。
根據權利要求1所述的風控絞車排繩裝置,其特征在于:還包括分別固定在絞車滾筒(6)兩側保護罩的限位器(7),排繩夾(4)移動至絞車滾筒(6)兩側時,排繩夾(4)可觸碰到限位器(7)。
說明書摘要
本實用新型公開了一種風控絞車排繩裝置,包括固定在絞車底座兩端的兩臺風泵,兩臺風泵之后間連接有絲杠,絲杠上裝有排繩夾,在連接兩臺風泵的支管上各裝有一個電磁閥,絞車滾筒兩側保護罩上固定有限位器。手動送電給任意一個電磁閥,風泵在相應電磁閥的控制下進行運轉,旋轉絲杠帶動排繩夾勻速向前運行中整齊排列鋼絲繩,排繩夾運行到絞車一端觸碰到限位器后返回,如此反復勻速運行就可以把鋼絲繩排列整齊。本實用新型提供的風控絞車排繩裝置利用絲杠和排繩夾把鋼絲繩進行自動整齊有序排列,杜絕了絞車在拖運物件過程中鋼絲繩出現的無序壓繩、咬繩等現象,避免了鋼絲繩的過快磨損,提高了運輸效率和生產的安全性。
說明書附圖

圖1

圖2