
14 移機尾平臺裝置.doc
移機尾平臺裝置
技術領域
本實用新型涉及煤礦井下運輸設備,具體涉及一種移機尾平臺裝置。
背景技術
目前的煤礦井下綜放工作面順槽運輸煤溜機尾處設置四節1米高,2.5米長,1.5米寬4節平臺,用于放置工作面煤溜開關,采煤機開關和回采過程中的電纜,在移平臺過程中,由于平臺開關比較重,采取拆卸開關的方法移平臺很不方便,不但浪費時間,影響生產,又耗費人力,對生產很不便。
發明內容
本實用新型解決了目前移機尾存在的費時,費力、影響生產的問題,提供了一種移機平臺裝置。
本實用新型是通過以下技術方案實現的:
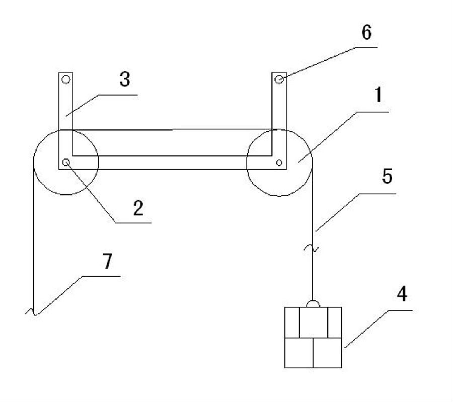
一種移機平臺裝置,包括移動滑輪、滑輪軸、固定支架、固定銷軸、固定底座、鋼絲繩、回柱絞車,其中固定支架通過固定銷軸固定,兩個移動滑輪通過滑輪軸固定在固定支架的兩端,鋼絲繩穿過兩個移動滑輪,一端固定在固定底座上,另一頭固定在回柱絞車上。
進一步的,鋼絲繩為φ12.5mm,長100m。
使用時,將固定底座和回柱絞車固定好,開動回柱絞車將其平臺向前移動,根據平臺移動的距離,將平臺移到要求位置。然后將固定底座和鋼絲繩回收好,實現平臺的快速、安全移動。
本實用新型結構簡單合理,操作方便,在移機尾平臺時,實現了快速、安全的移動效果,節約了時間,提高了工作效率,有利的促進了煤礦井下生產。
附圖說明
圖1為本實用新型的結構示意圖;
圖中:1-移動滑輪、2-滑輪軸、3-固定支架、4-固定底座、5-鋼絲繩、6-固定銷軸、7-回柱絞車。
具體實施方式
以下結合附圖對本實用新型做進一步說明。
如圖1所示的一種移機平臺裝置,包括移動滑輪1、滑輪軸2、固定支架3、固定底座4、鋼絲繩5、固定銷軸6、回柱絞車7,其中固定支架3通過固定銷軸6固定,兩個移動滑輪1通過滑輪軸2固定在固定支架3的兩端,鋼絲繩5穿過兩個移動滑輪1,一端固定在固定底座4上,另一頭固定在回柱絞車7上。
其中鋼絲繩5為φ12.5mm,長100m。
當井下綜放工作面順槽運輸煤溜機尾處設置四節1米高,2.5米長,1.5米寬四節平臺時,將第一節平臺前端用兩個滑輪和平臺連接固定好用一根鋼絲繩將一端固定在一個固定底座上,用液壓單體柱固定好將繩穿過兩個滑輪,另一頭將鋼絲繩固定在回柱絞車上,開動回柱絞車即可。
權利要求書
1、一種移機平臺裝置,其特征在于,包括移動滑輪(1)、滑輪軸(2)、固定支架(3)、固定底座(4)、鋼絲繩(5)、固定銷軸(6)、回柱絞車(7),其中所述的固定支架(3)通過固定銷軸(6)固定,兩個移動滑輪(1)通過滑輪軸(2)固定在固定支架(3)的兩端,鋼絲繩(5)穿過兩個移動滑輪(1),一端固定在固定底座(4)上,另一頭固定在回柱絞車(7)上。
2、根據權利要求1所述的一種移機平臺裝置,其特征在于,所述的鋼絲繩(5)φ12.5mm,長100m。
說明書摘要
本實用新型公開了一種移機尾平臺裝置,涉及煤礦井下運輸設備,解決了目前移機尾存在的費時,費力、影響生產的問題。一種移機平臺裝置,包括移動滑輪、滑輪軸、固定支架、固定銷軸、固定底座、鋼絲繩、回柱絞車,其中固定支架通過固定銷軸固定,兩個移動滑輪通過滑輪軸固定在固定支架的兩端,鋼絲繩穿過兩個移動滑輪,一端固定在固定底座上,另一頭固定在回柱絞車上。本實用新型結構簡單合理,操作方便,在移機尾平臺時,實現了快速、安全的移動效果,節約了時間,提高了工作效率,有利的促進了煤礦井下生產。
說明書附圖

圖1