
9 QJZ-800系列真空電磁啟動器的高、低速閉鎖電路.doc
QJZ-800系列真空電磁啟動器的高、低速閉鎖電路
技術領域
本實用新型涉及礦用設備技術領域,具體是一種專門用于QJZ-800系列礦用隔爆兼本質安全型多回路真空電磁啟動器的高、低速閉鎖電路。
背景技術
浙江電光防爆電器有限公司生產的QJZ-800系列礦用隔爆兼本質安全型多回路真空電磁起動器的電路設計存在一個嚴重的缺陷,即本啟動器在雙機雙速運行中發現由低速轉為高速后,若再次按下啟動按鈕低速仍能再次啟動,這樣就使同一臺電機高、低速同時供電運行,從而造成刮板輸送機電機多次燒毀的事故。經事故檢查發現,燒毀電機的原因是因為在雙機雙速運行時高速不能閉鎖低速造成的。
發明內容
本實用新型的目的是為了解決QJZ-800系列礦用隔爆兼本質安全型多回路真空電磁起動器在雙機雙速運行中高速不能閉鎖低速的問題,而提供一種QJZ-800系列真空電磁啟動器的高、低速閉鎖電路。
本實用新型是通過以下技術方案實現的:
一種QJZ-800系列真空電磁啟動器的高、低速閉鎖電路,包括高速電路和低速電路(該高、低速電路為QJZ-800系列礦用隔爆兼本質安全型多回路真空電磁起動器的本身電路設計);高速電路包括并聯設置的高速頭部繼電器、高速尾部繼電器、高速頭部接觸器和高速尾部接觸器,并且每個并聯支路中設有對應的先導回路觸點(在每個并聯支路上都串接有對應的先導回路,先導回路上設有先導回路觸點,先導回路工作時其上的先導回路觸點吸合后,該支路就被接通了;先導回路是QJZ-800系列礦用隔爆兼本質安全型多回路真空電磁起動器的電路中已有的設計,是本領域技術人員所熟知的);低速電路包括并聯設置的低速頭部繼電器、低速尾部繼電器、低速頭部接觸器和低速尾部接觸器,并且每個并聯支路中串接有對應的先導回路觸點(在每個并聯支路上都串接有對應的先導回路,先導回路上設有先導回路觸點,先導回路工作時其上的先導回路觸點吸合后,該支路就被接通了;先導回路是QJZ-800系列礦用隔爆兼本質安全型多回路真空電磁起動器的電路中已有的設計,是本領域技術人員所熟知的);高速電路中的高速頭部繼電器兩端并聯有鎖閉繼電器,鎖閉繼電器所在的并聯支路上還串聯有鎖閉扭子開關;低速電路中,低速頭部繼電器所在的并聯支路上設置一個由鎖閉繼電器控制的第一常閉觸點,低速尾部繼電器所在的并聯支路上也設置一個由鎖閉繼電器控制的第二常閉觸點。
本實用新型是對QJZ-800系列礦用隔爆兼本質安全型多回路真空電磁起動器的本身電路進行了改進,在其本身的高、低速電路中增設了鎖閉繼電器、鎖閉扭子開關及由鎖閉繼電器控制的常閉觸點。
雙機雙速運行時,將鎖閉扭子開關撥到閉合的位置,當由低速轉為高速時,控制高速頭部繼電器的先導回路觸點閉合,同時鎖閉繼電器開始工作并控制低速電路中增設的第一、二常閉觸點斷開,從而實現了高速鎖閉低速的目的,防止電機燒毀的現象再次發生。
進一步地,所述的鎖閉繼電器10是型號為ASAHD小型36V交流繼電器。
本實用新型設計巧妙、結構合理、制作成本低、使用效果好,解決了QJZ-800系列礦用隔爆兼本質安全型多回路真空電磁起動器在使用過程中高速不能鎖閉低速的問題,從而杜絕了電機燒毀現象的再次發生,為煤礦的安全生產提供了可靠地保障。
附圖說明
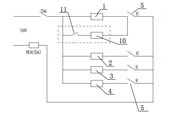
圖1為本實用新型中的高速電路的電路圖;
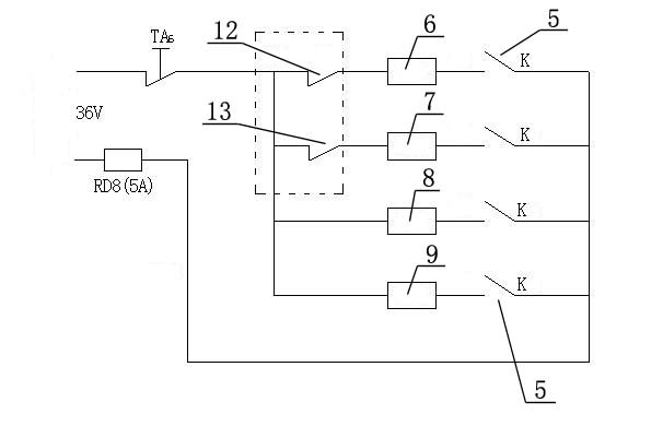
圖2為本實用新型中的低速電路的電路圖;
圖中:1-高速頭部繼電器、2-高速尾部繼電器、3-高速頭部接觸器、4-高速尾部接觸器、5-先導回路觸點、6-低速頭部繼電器、7-低速尾部繼電器、8-低速頭部接觸器、9-低速尾部接觸器、10-鎖閉繼電器、11-鎖閉扭子開關、12-第一常閉觸點、13-第二常閉觸點。
具體實施方式
以下結合附圖對本實用新型作進一步地描述:
一種QJZ-800系列高、低速閉鎖電路,包括高速電路和低速電路;高速電路包括并聯設置的高速頭部繼電器1、高速尾部繼電器2、高速頭部接觸器3和高速尾部接觸器4,并且每個并聯支路中串接有對應的先導回路,先導回路上設有先導回路觸點5;低速電路包括并聯設置的低速頭部繼電器6、低速尾部繼電器7、低速頭部接觸器8和低速尾部接觸器9,并且每個并聯支路中串接有對應的先導回路,先導回路上設有先導回路觸點5;高速電路中的高速頭部繼電器1兩端并聯有鎖閉繼電器10,鎖閉繼電器10所在的并聯支路上還串聯有鎖閉扭子開關11;低速電路中,低速頭部繼電器6所在的并聯支路上設置一個由鎖閉繼電器10控制的第一常閉觸點12,低速尾部繼電器7所在的并聯支路上也設置一個由鎖閉繼電器10控制的第二常閉觸點13。
具體實施時,所述的鎖閉繼電器10是型號為ASAHD小型36V交流繼電器。
權利要求書
1、一種QJZ-800系列真空電磁啟動器的高、低速閉鎖電路,包括高速電路和低速電路;高速電路包括并聯設置的高速頭部繼電器(1)、高速尾部繼電器(2)、高速頭部接觸器(3)和高速尾部接觸器(4),并且每個并聯支路中設有對應的先導回路觸點(5);低速電路包括并聯設置的低速頭部繼電器(6)、低速尾部繼電器(7)、低速頭部接觸器(8)和低速尾部接觸器(9),并且每個并聯支路中設有對應的先導回路觸點(5);其特征在于:高速電路中的高速頭部繼電器(1)兩端并聯有鎖閉繼電器(10),鎖閉繼電器(10)所在的并聯支路上還串聯有鎖閉扭子開關(11);低速電路中,低速頭部繼電器(6)所在的并聯支路上設置一個由鎖閉繼電器(10)控制的第一常閉觸點(12),低速尾部繼電器(7)所在的并聯支路上也設置一個由鎖閉繼電器(10)控制的第二常閉觸點(13)。
2、根據權利要求1所述的QJZ-800系列真空電磁啟動器的高、低速閉鎖電路,其特征在于:所述的鎖閉繼電器(10)是型號為ASAHD小型36V交流繼電器。
說明書摘要
本實用新型為一種QJZ-800系列真空電磁啟動器的高、低速閉鎖電路,解決了QJZ-800系列礦用隔爆兼本質安全型多回路真空電磁起動器在雙機雙速運行中高速不能閉鎖低速的問題。本實用新型電路是在原有高速電路中的高速頭部繼電器兩端并聯有鎖閉繼電器和鎖閉扭子開關,在原有低速電路中低速頭部繼電器、低速尾部繼電器各自的并聯支路上分別串接由鎖閉繼電器控制的第一常閉觸點和第二常閉觸點。本實用新型設計巧妙、結構合理、制作成本低、使用效果好,解決了QJZ-800系列礦用隔爆兼本質安全型多回路真空電磁起動器在使用過程中高速不能鎖閉低速的問題,從而杜絕了電機燒毀現象的再次發生,為煤礦的安全生產提供了可靠地保障。
說明書附圖


圖1 圖2