
7 水管連接裝置.doc
水管連接裝置
技術領域
本實用新型涉及一種水管連接裝置。
背景技術
煤礦井下在掘進過程中,為了堆放材料、設備等,需擴寬巷道及巷道拐彎等,鋼管拐彎需要動火,一旦涉及動火,不僅配套的安全措施多,而且焊彎的鋼管不能重復使用。在制作拐彎時,法蘭盤孔口經常會出現不合適,需要花費很多的人力物力,操做復雜。
發明內容
本實用新型是為了解決煤礦井下過拱頂及擴寬處水管連接困難的問題,而提供一種適用于煤礦井下過拱頂及擴寬處的水管連接裝置。
本實用新型是通過以下技術方案實現的:
水管連接裝置,包括高壓膠管、直通、法蘭盤,所述的高壓膠管的一端為鋼制接頭,鋼制接頭固定在直通內,所述直通的內徑與鋼制接頭的外徑相當,直通的另一端與法蘭盤焊接。
本實用新型將高壓膠管的鋼制接頭插入直通中,將兩者固定,直通的另一端與法蘭盤焊接,法蘭盤另一面可以實和水管通過螺栓相連接,這樣水管就可以避免過拱頂時燒焊鋼管帶來的麻煩。
本實用新型改變了以往的使用軟管連接不方便或燒焊鋼制管路不方便的工藝,特別適用于煤礦井下過拱頂及擴寬處,操作使用方便,安全可靠。
附圖說明
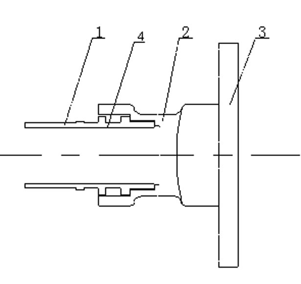
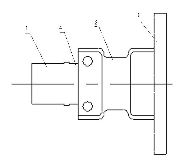
圖1為本實用新型的結構示意圖;
圖2為圖1的剖視圖;
圖中:1-高壓膠管、2-直通、3-法蘭盤、4-鋼制接頭。
具體實施方式
以下結合附圖對本實用新型作進一步說明。
如圖1、2所示的水管連接裝置,包括高壓膠管1、直通2、法蘭盤3,所述的高壓膠管1的一端為鋼制接頭4,鋼制接頭4固定在直通2內,所述直通2的內徑與鋼制接頭4的外徑相當,直通2的另一端與法蘭盤3焊接。
高壓膠管1的鋼制接頭4固定在直通2內,直通2的另一端與法蘭盤3焊接,法蘭盤另一面可以實和水管通過螺栓相連接。
權利要求書
1、水管連接裝置,其特征在于,包括高壓膠管(1)、直通(2)、法蘭盤(3),所述的高壓膠管(1)的一端為鋼制接頭(4),鋼制接頭(4)固定在直通(2)內,所述直通(2)的內徑與鋼制接頭(4)的外徑相當,直通(2)的另一端與法蘭盤(3)焊接。
說明書摘要
本實用新型公開了一種水管連接裝置,解決了煤礦井下過拱頂及擴寬處水管連接困難的問題。水管連接裝置,包括高壓膠管、直通、法蘭盤,所述的高壓膠管的一端為鋼制接頭,鋼制接頭固定在直通內,所述直通的內徑與鋼制接頭的外徑相當,直通的另一端與法蘭盤焊接。本實用新型改變了以往的使用軟管連接不方便或燒焊鋼制管路不方便的工藝,特別適用于煤礦井下過拱頂及擴寬處,操作使用方便,安全可靠。
說明書附圖

圖1 圖2