
5 浮動式導繩輪-.doc
浮動式導繩輪
技術領域
本實用新型涉及導繩輪,具體涉及一種浮動式導繩輪。
背景技術
現有的導繩輪,在用于坡頭等惡劣環境的鋼絲繩導向時,道軌的平、直度均難以得到保證,輪與鋼絲繩難以處于平衡狀態,鋼絲繩對托輥的磨損和對軸承的損壞嚴重。
針對現有導繩輪結構不合理,強度不夠,經常損壞,需要頻繁的拆卸維修,嚴重影響工作效率的問題,有必要研制一種新型結構的導繩輪。
發明內容
本實用新型是為了解決現有導繩輪結構不合理,強度不夠,經常損壞,需要頻繁的拆卸維修,嚴重影響工作效率的問題,而提供了一種浮動式導繩輪。
本實用新型是通過以下技術方案實現的:
一種浮動式導繩輪,包括底座、繩輪架、繩輪、軸承座、輪軸、銷軸,其中繩輪架與底座通過銷軸鉸接連接,繩輪安裝在輪軸上,軸承座安裝在繩輪兩側的輪軸上,軸承座通過螺栓與繩輪架固定。
進一步地,所述的兩個軸承座的外側用軸承蓋密封,防塵,防水效果好,潤滑方便。
所述的繩輪與兩個軸承座之間還安裝有彈性擋圈,彈性擋圈與螺栓一起起定位作用,防止軸承在軸向發生位移,并與輪架同時浮動。
本實用新型采用繩輪架與底座鉸接方式,可使繩輪隨著鋼絲繩的起伏而自動修正,使繩輪與鋼絲繩始終處于平衡狀態,減少鋼絲繩對托輥的磨損和對軸承的損壞;繩輪架可以用鋼板焊制而成,以有效防止變形,加大承載能力;軸承座兩側用擋圈和螺栓緊固,以確保上下兩個軸承的位置不發生變動;軸承兩端用軸承蓋密封,防塵,防水效果好,潤滑方便。
與現有技術相比,本實用新型采用肖軸鉸接連接,可使繩輪有一定的俯仰范圍,消除因軌道不平等原因導致的鋼絲繩對輪緣的巨大磨損,有效防止對輪軸及軸承的損害,延長設備的使用壽命,降低勞動強度。
附圖說明
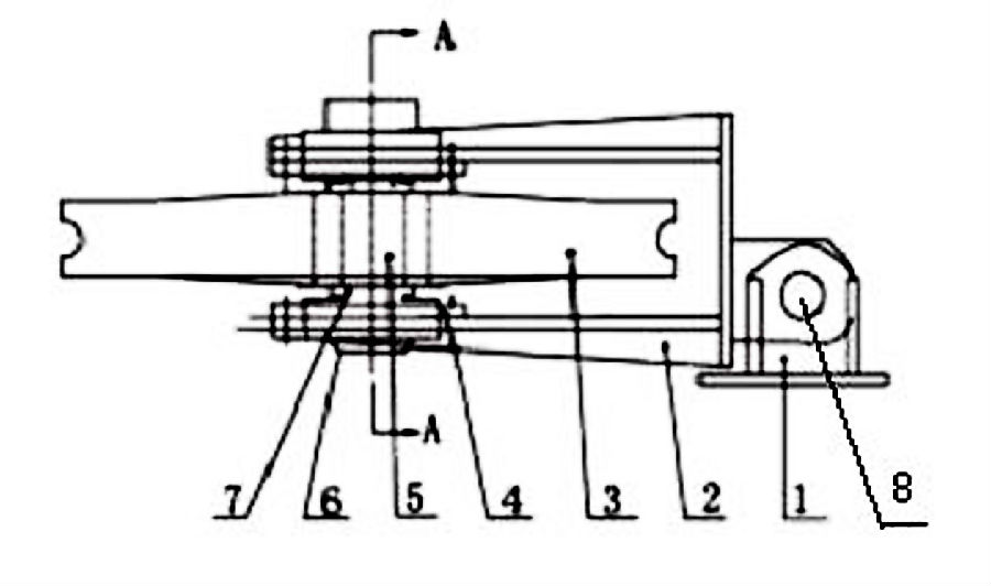
圖1為本實用新型的結構示意圖;
圖2為圖1的俯視圖;
圖3為圖1的A-A剖視圖;
圖中:1-底座、2-繩輪架、3-繩輪、4-軸承座、5-輪軸、6-軸承蓋、7-彈性擋圈、8-銷軸。
具體實施方式
以下結合附圖對本實用新型做進一步說明。
如圖1、2、3所示的一種浮動式導繩輪,包括底座1、繩輪架2、繩輪3、軸承座4、輪軸5、銷軸8,其中繩輪架2與底座1通過銷軸8鉸接連接,繩輪3安裝在輪軸5上,軸承座4安裝在繩輪3兩側的輪軸5上,軸承座4通過螺栓與繩輪架2固定。
其中,兩個軸承座4的外側用軸承蓋6密封,繩輪3與兩個軸承座4之間還安裝有彈性擋圈7。
權利要求書
1、一種浮動式導繩輪,其特征在于,包括底座(1)、繩輪架(2)、繩輪(3)、軸承座(4)、輪軸(5)、銷軸(8),其中所述的繩輪架(2)與底座(1)通過銷軸(8)鉸接連接,繩輪(3)安裝在輪軸(5)上,軸承座(4)安裝在繩輪(3)兩側的輪軸(5)上,軸承座(4)通過螺栓與繩輪架(2)固定。
2、根據權利要求1所述的浮動式導繩輪,其特征在于,所述的兩個軸承座(4)的外側用軸承蓋(6)密封。
3、根據權利要求1或2所述的浮動式導繩輪,其特征在于,所述繩輪(3)與兩個軸承座(4)之間還安裝有彈性擋圈7。
說明書摘要
本實用新型公開了一種浮動式導繩輪,涉及導繩輪,解決現有導繩輪結構不合理,強度不夠,經常損壞,需要頻繁的拆卸維修,嚴重影響工作效率的問題。一種浮動式導繩輪,包括底座、繩輪架、繩輪、軸承座、輪軸、銷軸,其中繩輪架與底座通過銷軸鉸接連接,繩輪安裝在輪軸上,軸承座安裝在繩輪兩側的輪軸上,軸承座通過螺栓與繩輪架固定。本實用新型采用肖軸鉸接連接,可使繩輪有一定的俯仰范圍,消除因軌道不平等原因導致的鋼絲繩對輪緣的巨大磨損,有效防止對輪軸及軸承的損害,延長設備的使用壽命,降低勞動強度。
說明書附圖

圖1