
2 管鉤沖壓線形裝置.doc
管鉤沖壓線形裝置
技術領域
本實用新型涉及一種沖壓裝置,特別是用于制造礦井中使用的各種水風管路固定管鉤的沖壓裝置。
背景技術
在礦井巷道延伸過程中和標準化整改過程中,各種水風管路需統一吊掛,根據設計固定件用10#槽鋼制作,管鉤件用70×8扁剛制作,一個批次通常要制作鉤件2000至3000件,在管鉤件制作過程中受工藝限制通常采用人工鍛制,不僅效率低,兩人一天勉強制作100件,勞動強度大,因無模具成型,尺寸只能控制在較大范圍內,仍有5%返修率。
發明內容
本實用新型要解決的技術問題是提供一種管鉤沖壓線形裝置,使用該裝置可提高制作管鉤件的效率、降低工人勞動強度。
為解上述技術問題,本實用新型管鉤沖壓線形裝置,包括立體架、凹模、凸模、凹模座、凸模座和彈簧,所述的立體架包括兩側的立柱,凸模固定于由空氣錘驅動的凸模座的底部,該凸模座的兩端與立體架的立柱滑動連接,凹模座設置于凸模下方,凹模固定在該凹模座頂部,彈簧的兩端分別連接立體架頂部和凹模座。
凸模座連接空氣錘,由空氣錘驅動凸模座向下運動產生沖擊力,待加工管件放置在凹模表面,在凸模的沖擊作用下折彎成管鉤,一次沖壓結束后,在彈簧的拉力作用下,凸模向上復位。
與目前的人工鍛制相比,操作本實用新型管鉤沖壓線形裝置只需1-2人,兩人一天可鍛制400件,其中一人可以坐著操作,提高工效4倍,提高了生產效率,降低了勞動強度。其次,可降低返修率,成品合格率為100%。其結構簡單、實用高效,可廣泛應用于制造礦井中使用的各種水風管路固定管鉤。
附圖說明
以下結合附圖和具體實施實施對本實用新型作進一步詳細說明。
圖1是本實用新型管鉤沖壓線形裝置的結構正面示意圖;
圖2是本實用新型管鉤沖壓線形裝置的結構側面示意圖;
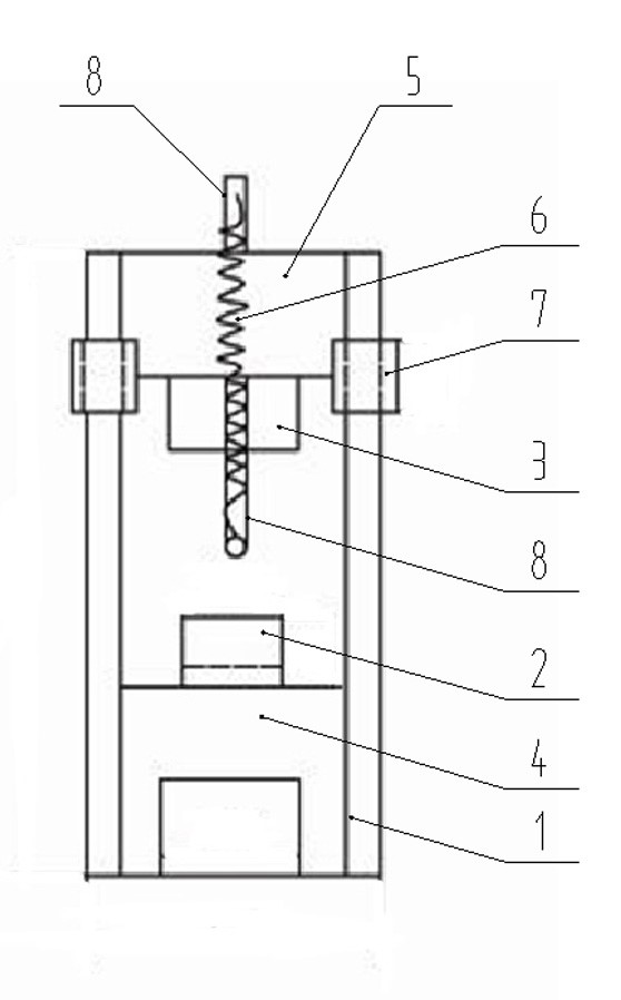
圖中:1-立體架,2-凹模,3-凸模,4-凹模座,5-凸模座,6-彈簧,7-滑動套,8-連桿。
具體實施方式
如圖1和圖2本實用新型的結構示意圖所示,本實用新型一種管鉤沖壓線形裝置,包括立體架1、凹模2、凸模3、凹模座4、凸模座5和彈簧6,所述的立體架1包括兩側的立柱,凸模2固定于由空氣錘驅動的凸模座5的底部,該凸模座5的兩端與立體架1的立柱滑動連接,凹模座4設置于凸模3下方,凹模3固定在該凹模座4頂部,彈簧6的兩端分別連接立體架1頂部和凸模座5。
立體架1是由圓鋼鍛制成的空心長方形框架,主要是用于支撐凹模座5,立柱采用Φ16圓鋼,立體架1頂部為橫向固定的Φ16鐵管。沖壓設備為150KG空氣錘。由于本實用新型的制造對象主要是管鉤件,將凹模2和凸模3的沖壓面設置成R45的圓弧形。凸模座5可以沿立柱上下運動,待加工管件放置在凹模2表面,在凸模3的沖壓作用下制成管鉤件。
作為立柱與凸模座連接方式的一種優選方式,凸模座5的兩端設置有滑動套7,該滑動套7套裝于立柱上,在空氣錘的驅動下,該滑動套7可沿立柱上下運動。
立體架1頂部和凸模座5上各固定連接有連桿8,彈簧6的兩端分別連接上述兩處的連桿8。在立體架1頂部的Φ16鐵管的端部以及凸模座5上分別固定向外側傾斜延伸的Φ14圓鋼作為連桿8,連桿8的傾斜角度為45°,彈簧6連接在兩個連桿8的外端部。
權利要求書
1、一種管鉤沖壓線形裝置,其特征在于:包括立體架1、凹模2、凸模3、凹模座4、凸模座5和彈簧6,所述的立體架1包括兩側的立柱,凸模2固定于由空氣錘驅動的凸模座5的底部,該凸模座5的兩端與立體架1的立柱滑動連接,凹模座4設置于凸模3下方,凹模3固定在該凹模座4頂部,彈簧6的兩端分別連接立體架1頂部和凸模座5。
2、根據權利要求1所述的管鉤沖壓線形裝置,其特征在于:凸模座5的兩端設置有滑動套7,該滑動套7套裝于立柱上。
3、根據權利要求1所述的管鉤沖壓線形裝置,其特征在于:立體架1頂部和凸模座5上各固定連接有連桿8,彈簧6的兩端分別連接上述兩處的連桿8。
說明書摘要
本實用新型公開了一種管鉤沖壓線形裝置,為解上述技術問題,本實用新型管鉤沖壓線形裝置,包括立體架、凹模、凸模、凹模座、凸模座和彈簧,所述的立體架包括兩側的立柱,凸模固定于由空氣錘驅動的凸模座的底部,該凸模座的兩端與立體架的立柱滑動連接,凹模座設置于凸模下方,凹模固定在該凹模座頂部,彈簧的兩端分別連接立體架頂部和凹模座。
凸模座連接空氣錘,由空氣錘驅動凸模座向下運動產生沖擊力,待加工管件放置在凹模表面,在凸模的沖擊作用下折彎成管鉤,一次沖壓結束后,在彈簧的拉力作用下,凸模向上復位。使用該裝置可提高制作管鉤件的效率、降低工人勞動強度,應用于制造礦井中使用的各種水風管路固定管鉤。
說明書附圖

圖1 圖2